Messbereich: 8 - 12.7 mm / 12.7 - 19 mm / 19 - 32 mm / 32 -54 mm / 54 - 90 mm / 90 -150 mm
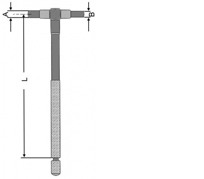
Zeichnung:
Messtiefe (L:) 102 mm / 102 mm / 102 mm / 127 mm / 127 mm / 127 mm mm
A: 4 mm / 5 mm / 5 mm / 7.5 mm / 7.5 mm / 7.5 mm mm
B: 3 mm / 4 mm / 4 mm / 6 mm / 6 mm / 6 mm mm
für Stellen, die mit den üblichen Messgeräten schwer erreichbar sind, sind diese teleskopischen Lehren geeignet
• Stahlausführung, matt verchromt
• selbstzentrierend, mit balligen Messflächen, gehärtet
• konstanter Federdruck auf die Messfläche
• mit Feststellschraube
Diesen Artikel haben wir am Mittwoch, 28. März 2012 in unseren Katalog aufgenommen.


