Digital Rohrwand-Messschraube 0 - 25 mm, mm/inch, IP 54mit ø 4,7mm HM-Messamboss, ABS/INC, Hold/Pre-set, Uhr, mit Anleitung, im Kasten
Elektr. Digital - Messschraube IP54
Zum Messen von Rohrwandstärken usw.
Absolut System, mit Datenausgang RS 232 C
• LCD - Anzeige, mit deutlicher Ablesung, umschaltbar mm/inch
• Bügel lackiert, mit Isolierschale, Hartmetallmessflächen, geläppt
• Origin-Taste, ABS absolut / INC incremental Mess-System
• „0“-Stellung an jeder Position, Ein/Aus-Schaltung, Uhrzeit-Anzeige
• Klemmrad zum schnellen und sicheren Feststellen
• Konstante Messkraft durch Ratsche, Batterie SR 44 und Anleitung
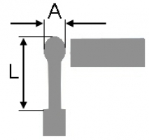
A=ø mm 4,8
L= mm 27,5
Diesen Artikel haben wir am Mittwoch, 28. März 2012 in unseren Katalog aufgenommen.


